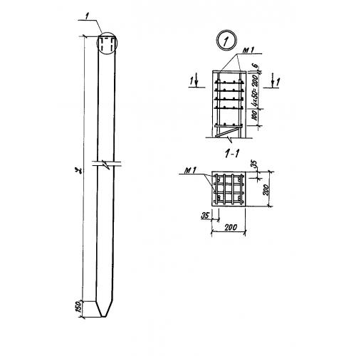
СС 50.2

Чертеж изделия:
Характеристики изделия:
ПараметрЗначение
длина5000 мм
ширина200 мм
высота200 мм
масса530 кг
нормативный документГОСТ 24155-80

СС 50.2 Сваи-стойки ГОСТ 24155-80.