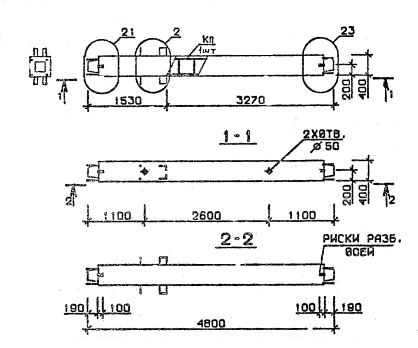
КС 48

Чертеж изделия:
Характеристики изделия:
ПараметрЗначение
длина4800 мм
ширина400 мм
высота400 мм
масса1919 кг
нормативный документСерия 1.020.1-2с/89

КС 48  Колонны средние Серия 1.020.1-2с/89.