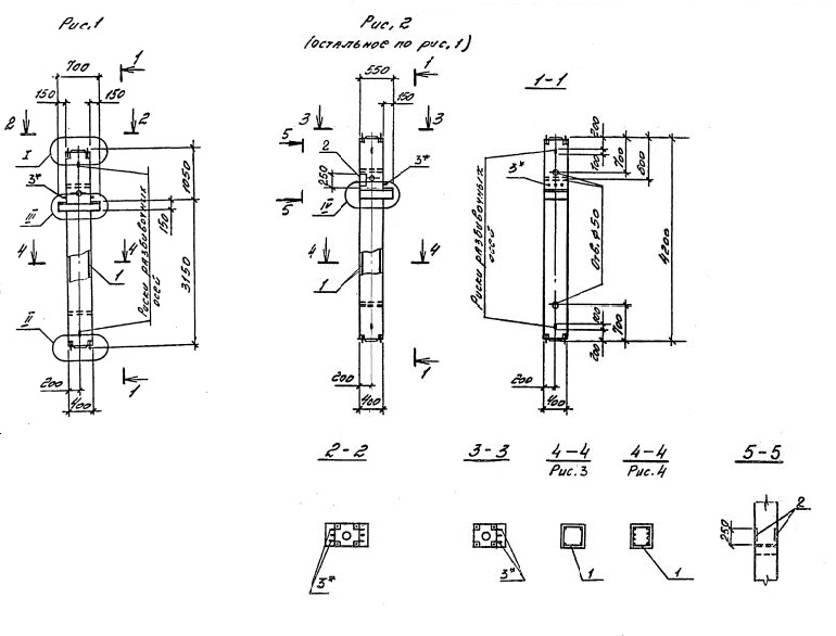
1КСО 42.00

Чертеж изделия:
Характеристики изделия:
ПараметрЗначение
длина4200 мм
ширина400 мм
высота550 мм
масса1700 кг
нормативный документСерия 1.020.1-4

1КСО 42.00   Колонны одноконсольные для средних этажей (Серия 1.020.1-4).

Маркировка с учетом диаметра угловых стержней арматуры, в мм. и марки бетона:

1КСО 42.00-3.25.00

1КСО 42.00-3.32.00

1КСО 42.00-4.36.00

1КСД 42.00-3.40.00

1КСД 42.00-4.40.22