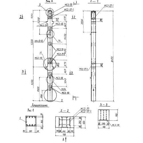
2КН 42-4 РС 3-2

Чертеж изделия:
Характеристики изделия:
ПараметрЗначение
длина8450 мм
ширина400 мм
высота400 мм
масса4330 кг
нормативный документСерия 1.022 КЛ-2

2КН 42-4 РС 3-2   Двухэтажные колонны стыковые нижнего яруса (Серия 1.022 КЛ-2).