ПК 51.12 Плиты перекрытия железобетонные многопустотные

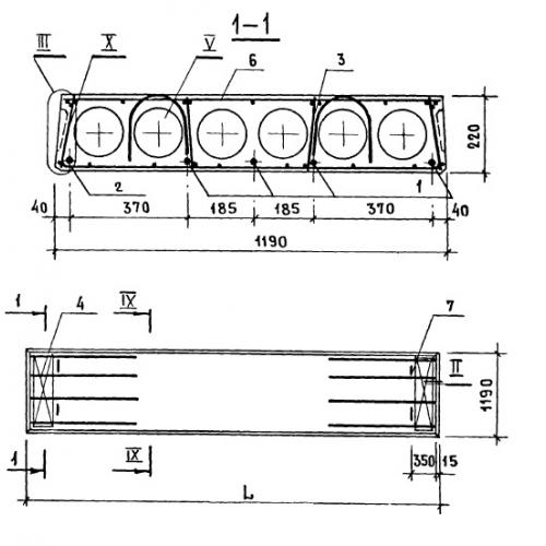
Чертеж изделия:
Характеристики изделия:
ПараметрЗначение
длина5080 мм
ширина1190 мм
высота220 мм
масса1800 кг
нормативный документСерия 1.141-1

ПК 51.12  Плиты перекрытия железобетонные многопустотные Серия 1.141-1.