ПК 51.15
Характеристики изделия:
| Параметр | Значение |
|---|---|
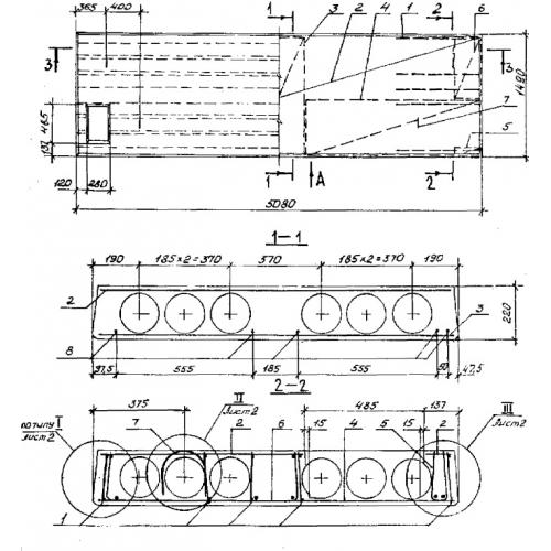
| длина | 5080 мм |
| ширина | 1490 мм |
| высота | 220 мм |
| вес | 2585 кг |
| серия | 1.141.1-30 |
Цена:
Рассчитать стоимостьПК 51.15 Плиты перекрытия с пустотами по серии 1.141.1-30.
| Параметр | Значение |
|---|---|
| длина | 5080 мм |
| ширина | 1490 мм |
| высота | 220 мм |
| вес | 2585 кг |
| серия | 1.141.1-30 |
ПК 51.15 Плиты перекрытия с пустотами по серии 1.141.1-30.
