ЛМ 28-12

Чертеж изделия:
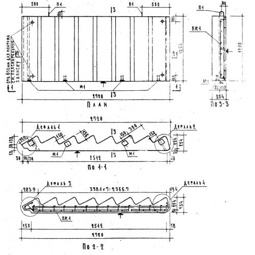
Характеристики изделия:
ПараметрЗначение
длина2720 мм
ширина1200 мм
высота254 мм
вес1520 кг
серия1.151-1

ЛМ 28-12 Лестничные марши по серии 1.151-1.