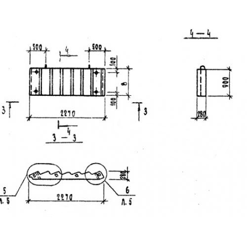
ЛМ 23.9.15 лестничные марши
Характеристики изделия:
| Параметр | Значение |
|---|---|
| длина | 2270 мм |
| ширина | 900 мм |
| высота | 1500 мм |
| масса | 1030 кг |
| нормативный документ | Серия 1.151.1-7 |
Цена:
Рассчитать стоимостьЛМ 23.9.15 Лестничные марши без фризовых ступеней Серия 1.151.1-7.
