ИБ 5 ригели

Чертеж изделия:
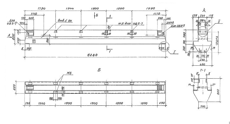
Характеристики изделия:
ПараметрЗначение
длина8280 мм
ширина650 мм
высота800 мм
масса6730 кг
нормативный документСерия 1.420-35.95

ИБ 5  Ригели с полками для опирания плит  Серия 1.420-35.95.