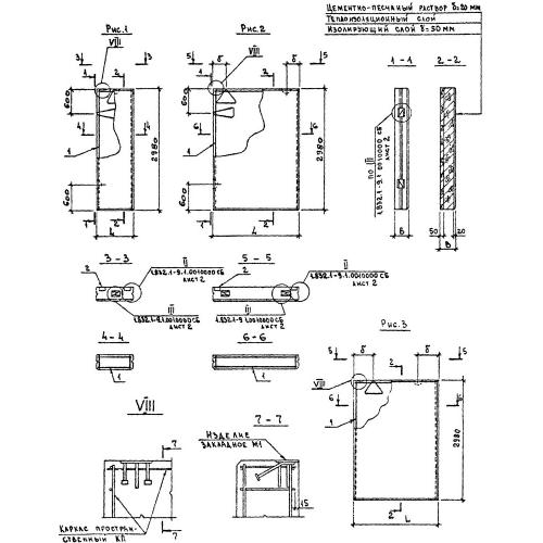
ПСД 12.30.30

Чертеж изделия:
Характеристики изделия:
ПараметрЗначение
длина1180 мм
ширина300 мм
высота2980 мм
вес2000 кг
серия1.832.1-9

ПСД 12.30.30 Панели стеновые двухслойные по серии 1.832.1-9.