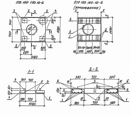
ПТО 150.150.12 плиты лотков

Чертеж изделия:
Характеристики изделия:
ПараметрЗначение
длина1480 мм
ширина1480 мм
высота120 мм
масса650 кг
нормативный документСерия 3.006.1-8

ПТО 150.150.12  Плиты перекрытия каналов с отверстиями Серия 3.006.1-8.