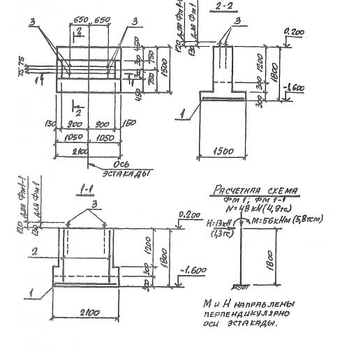
Фм 1
Характеристики изделия:
| Параметр | Значение |
|---|---|
| длина | 2100 мм |
| ширина | 1500 мм |
| высота | 1800 мм |
| масса | 6500 кг |
| нормативный документ | Серия 3.016.2-12 |
Цена:
Рассчитать стоимостьФм 1 Фундаменты монолитные Серия 3.016.2-12.
| Параметр | Значение |
|---|---|
| длина | 2100 мм |
| ширина | 1500 мм |
| высота | 1800 мм |
| масса | 6500 кг |
| нормативный документ | Серия 3.016.2-12 |
Фм 1 Фундаменты монолитные Серия 3.016.2-12.
