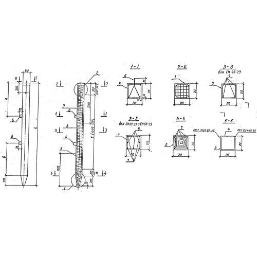
СН 45-29 Сваи квадратного сечения

Чертеж изделия:
Характеристики изделия:
ПараметрЗначение
длина4500 мм
ширина210 мм
высота210 мм
масса500 кг
нормативный документСерия 3.407.1-157

СН 45-29  Сваи предварительно напряженные по Серии 3.407.1-157.