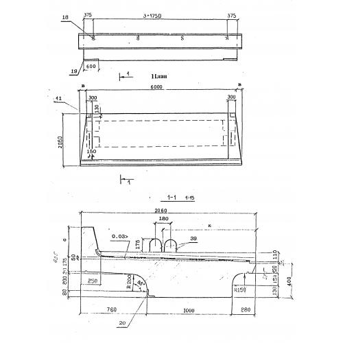
БП 1.60

Чертеж изделия:
Характеристики изделия:
ПараметрЗначение
длина6000 мм
ширина2060 мм
высота825 мм
вес11000 кг
серия3.501.1-175.93

БП 1.60 Плитные балки по серии 3.501.1-175.93.