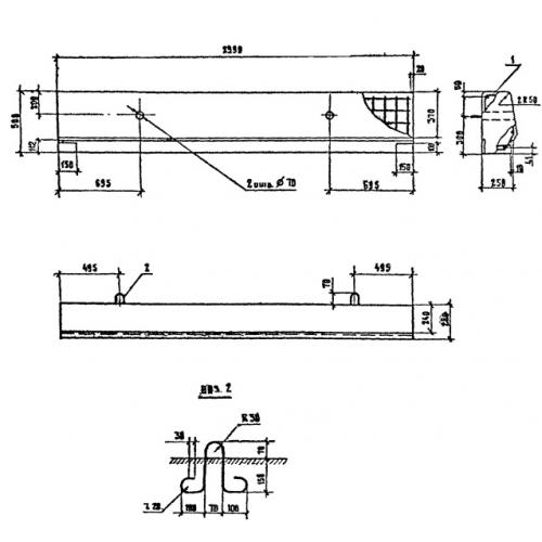
ББ 35 блок бордюрный
Характеристики изделия:
| Параметр | Значение |
|---|---|
| длина | 2990 мм |
| ширина | 500 мм |
| высота | 280 мм |
| вес | 960 кг |
| серия | 3.503.1-81 |
Цена:
Рассчитать стоимостьББ 35 Блоки тротуарные (бордюрные) по серии 3.503.1-81.
| Параметр | Значение |
|---|---|
| длина | 2990 мм |
| ширина | 500 мм |
| высота | 280 мм |
| вес | 960 кг |
| серия | 3.503.1-81 |
ББ 35 Блоки тротуарные (бордюрные) по серии 3.503.1-81.
