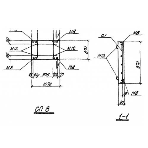
СП 8

Чертеж изделия:
Характеристики изделия:
ПараметрЗначение
длина1070 мм
ширина870 мм
высота80 мм
вес170 кг
серияТП 905-7

СП 8 Панели стеновые по проекту ТП 905-7.